Mesiodens anastrophique : quelle prise en charge ?

  • Par
  • Publié le . Paru dans L'Information Dentaire n°24 - 19 juin 2019
Information dentaire
La dent anastrophique est une dent dont l’orientation est inversée, elle est souvent surnuméraire, siégeant dans l’arcade maxillaire. La localisation exacte de cette dent revêt une grande importance dans l’établissement du choix thérapeutique. Le traitement fait appel à l’avulsion dans la majorité des cas. Cependant, la prise en charge de certains cas complexes nécessite une réflexion raisonnée tenant compte de l’intégrité des structures avoisinantes.
L’objectif de cet article est de faire le point à travers un cas clinique rare, concernant la denture permanente, sur la réflexion de prise en charge d’un mesiodens anastrophique avec un risque de communication bucco-nasale.

Rapport de cas et revue de littérature

Les dents surnuméraires sont des anomalies de nombre qui représentent un taux d’incidence variant entre 0,15 % et 3,9 %. Elles peuvent intéresser à la fois la dentition temporaire et permanente, mais elles sont cinq fois moins fréquentes en dentition temporaire [1, 2].

Les dents surnuméraires peuvent être classées selon leur morphologie ou leur topographie. Ainsi, lorsqu’une dent surnuméraire siège dans la région incisive, elle prend le nom de mésiodens.
Le mesiodens peut être unilatérale ou bilatérale avec une morphologie conique ou tuberculée. Elle peut suivre le sens normal de l’éruption ou une direction inclinée, horizontale ou même inversée « anastrophique » [3].

Le traitement des mesiodens fait appel à leur avulsion dans la majorité des cas. Cependant, la prise en charge des cas complexes nécessite une réflexion raisonnée tout en tenant compte de l’intégrité des structures avoisinantes.

Cet article fait le point, à travers un cas clinique, sur la prise en charge du mesiodens avec orientation inversée occasionnant un risque de communication bucco-nasale.

Cas clinique

Un enfant, âgé de 12 ans, de sexe masculin, se présente, accompagné de son père, à la consultation du service d’odontologie pédiatrique-prévention pour la prise en charge d’un traumatisme dentaire datant de deux ans concernant la 11 et la 21.
L’interrogatoire ne révèle aucune pathologie générale particulière et l’absence d’allergie médicamenteuse connue.

L’examen exobuccal ne montre aucune particularité clinique.

L’examen endobuccal objective la présence d’une restauration provisoire au niveau de la 11 et de la 21 qui présente des fractures coronaires avec perte de substance importante (fig. 1).

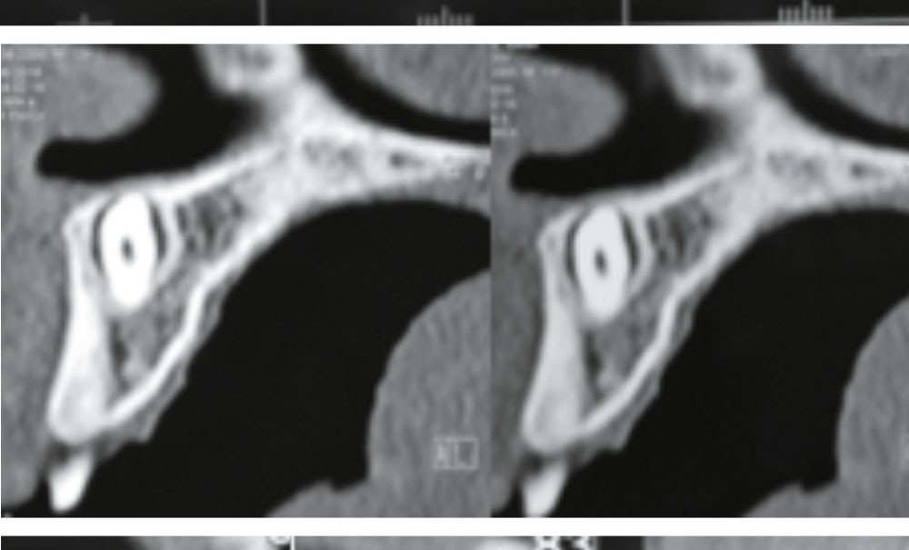
La radiographie rétro-alvéolaire confirme la communication de l’obturation avec la chambre pulpaire de la 11 et de la 21, matures, ainsi que la découverte fortuite d’un élément surnuméraire ayant une…

Cet article est réservé aux abonnés.
Pour lire la suite :

Vous êtes abonné.e ? Connectez-vous
Mot de passe
oublié ?

Vous pouvez également :

Acheter l'article En version numérique
Acheter le numéro À l'unité